Features:
Pad Size F03 ~ F14
Drive Size 9mm ~ 27mm
Body 304 Stainless Steel
Extension Height 100mm
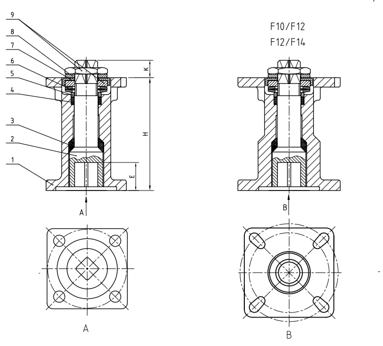
304 Stainless Steel Ball Valve Stem Extension to suit the BLS Series of Ball Valves. These extensions are designed to be bolted to the ISO pad on the ball valve and allow for the handle or actuator to be fixed to the ISO pad on the extension. Pad to Pad this extension offers a 100mm height across all sizes making this suitable for Thermal Standoff and other applications. The stem in this extension matches in construction to the Ball Valve stem featuring self adjusting stem packing assembly with belleville spring for temperature fluctuations and vibration.
| Model | Botom ISO Pad | Top ISO Pad | Square Drive | Extension Height |
|---|---|---|---|---|
| SXT-F04-9 | F04 | F03/F04 | 9mm | 100mm |
| SXT-F05-11 | F05 | F04/F05 | 11mm | 100mm |
| SXT-F07-14 | F07 | F05/F07 | 14mm | 100mm |
| SXT-F10-17 | F10 | F07/F10 | 17mm | 100mm |
| SXT-F12-22 | F10/F12 | F10/F12 | 22mm | 100mm |
| SXT-F14-27 | F12/F14 | F12/F14 | 27mm | 100mm |

| Model | ISO Pad Bottom | ISO Pad Top | C | H | E | K |
|---|---|---|---|---|---|---|
| SXT-F04-9 | F04 | F03/F04 | 9 | 100 | 12 | 9 |
| SXT-F05-11 | F05 | F04/F05 | 11 | 100 | 16 | 11 |
| SXT-F07-14 | F07 | F05/F07 | 14 | 100 | 17 | 14 |
| SXT-F10-17 | F10 | F07/F10 | 17 | 100 | 21 | 17 |
| SXT-F12-22 | F10/F12 | F10/F12 | 22 | 100 | 25 | 22 |
| SXTF14-27 | F12/F14 | F12/F14 | 27 | 100 | 30 | 27 |
All dimensions in mm unless stated otherwise

| Item | Description | Material |
|---|---|---|
| 1 | Body | CF8 |
| 2 | Stem | SS304 |
| 3 | Thrust Washer | PTFE |
| 4 | Stem Packing | PTFE |
| 5 | Packing Ring | SS304 |
| 6 | Belleville Washer | SS301 |
| 7 | Nut Stopper | SS304 |
| 8 | Plate Washer | SS304 |
| 10 | Nut | SS304 |
| 11 | Stop Pin | SS304 |
Pad Size F03 ~ F14
Drive Size 9mm ~ 27mm
Body 304 Stainless Steel
Extension Height 100mm
Pad Size F03 ~ F14
Drive Size 9mm ~ 27mm
Body 304 Stainless Steel
Extension Height 100mm
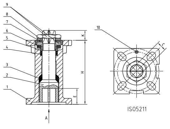
304 Stainless Steel Ball Valve Stem Extension to suit the BLS Series of Ball Valves. These extensions are designed to be bolted to the ISO pad on the ball valve and allow for the handle or actuator to be fixed to the ISO pad on the extension. Pad to Pad this extension offers a 100mm height across all sizes making this suitable for Thermal Standoff and other applications. The stem in this extension matches in construction to the Ball Valve stem featuring self adjusting stem packing assembly with belleville spring for temperature fluctuations and vibration.
| Model | Botom ISO Pad | Top ISO Pad | Square Drive | Extension Height |
|---|---|---|---|---|
| SXT-F04-9 | F04 | F03/F04 | 9mm | 100mm |
| SXT-F05-11 | F05 | F04/F05 | 11mm | 100mm |
| SXT-F07-14 | F07 | F05/F07 | 14mm | 100mm |
| SXT-F10-17 | F10 | F07/F10 | 17mm | 100mm |
| SXT-F12-22 | F10/F12 | F10/F12 | 22mm | 100mm |
| SXT-F14-27 | F12/F14 | F12/F14 | 27mm | 100mm |

| Model | ISO Pad Bottom | ISO Pad Top | C | H | E | K |
|---|---|---|---|---|---|---|
| SXT-F04-9 | F04 | F03/F04 | 9 | 100 | 12 | 9 |
| SXT-F05-11 | F05 | F04/F05 | 11 | 100 | 16 | 11 |
| SXT-F07-14 | F07 | F05/F07 | 14 | 100 | 17 | 14 |
| SXT-F10-17 | F10 | F07/F10 | 17 | 100 | 21 | 17 |
| SXT-F12-22 | F10/F12 | F10/F12 | 22 | 100 | 25 | 22 |
| SXTF14-27 | F12/F14 | F12/F14 | 27 | 100 | 30 | 27 |
All dimensions in mm unless stated otherwise

| Item | Description | Material |
|---|---|---|
| 1 | Body | CF8 |
| 2 | Stem | SS304 |
| 3 | Thrust Washer | PTFE |
| 4 | Stem Packing | PTFE |
| 5 | Packing Ring | SS304 |
| 6 | Belleville Washer | SS301 |
| 7 | Nut Stopper | SS304 |
| 8 | Plate Washer | SS304 |
| 10 | Nut | SS304 |
| 11 | Stop Pin | SS304 |